The ventilator is parallel to the roof, the shape can be arc-shaped, diamond shaped, wind resistance is small, lighting and ventilation exhaust combined as one, unique mold integrated internal structure, good strength, fast installation, beautiful appearance, good overall shape, suitable for high lighting requirements, strong ventilation of all kinds of plants, can be thermal insulation type, can be installed with bird proof, insect proof net, can be manually controlled, can be used Do fire linkage electric (remote control) control to adjust the size of the exhaust air volume and open and close the exhaust effect, open motor using DC 24 V, 1000 n push rod, high anti-corrosion requirements of the plant, rain shield, peripheral plate and end plate can use FRP anti-corrosion plate production and installation.

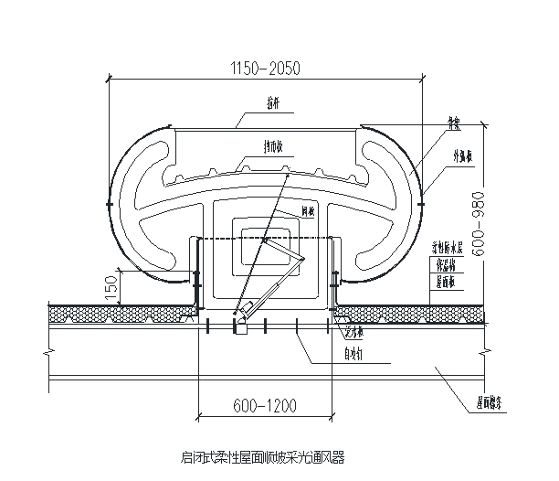
★ section of nst600-1200 roof type natural lighting ventilator




★ equipment size and parameters

★The exhaust reference value of roof type natural light ventilator

Note: the calculation conditions of the above exhaust parameters are as follows: outdoor temperature is set at 20 ℃; gravity acceleration is 9.8m/s2; outdoor average wind speed is 1.2m/s; orifice flow coefficient is 0.85
Engineering examples


上海华谊JQ600

芜湖美的美智电器JQ600

黄石利达纺织JQ750

西安重工装备制造

天津一汽丰田

浙江湖州德西福格

重庆红星美凯龙

贵州鲲鹏

东风商务乘用车

宝湾物流

杭州泽通

北京天竺综合保税区